小红家陈皮是正宗新会陈皮还是作假陈皮?
陈皮免费试喝,加微信 ket545就能领,你还不知道?
新会陈皮市场上有许多假陈皮,有的是用外地陈皮、还有的是用普通橘子皮假冒新会陈皮,就算是新会本地的陈皮,也有人工染色年份造假的情况,所以大家购买陈皮时都会担心买到作假陈皮。
最近有不少朋友推荐小红家陈皮,而关于小红家陈皮是正宗新会陈皮还是作假陈皮的问题,也有不少朋友提到,下面详细给大家聊一聊这个问题。
小红家陈皮是正宗新会陈皮吗?
要了解小红家陈皮是不是正宗的新会陈皮,首先我们要先看看其是不是一家正规的陈皮公司。如果是正规注册的公司,则需要接受相关部门的资质审查和监督,基本上不太可能卖假货;而如果是三无产品,那么就需要小心了。
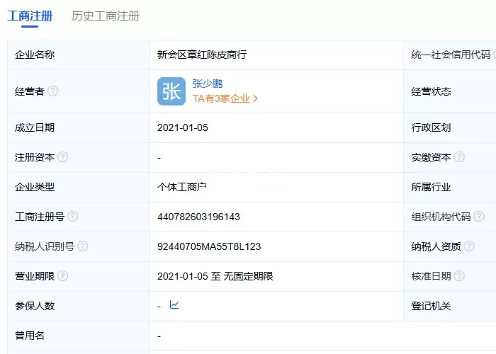
通查询了解到,小红家陈皮全名叫作“新会区章红记陈皮商行”,在天眼查可查询到其公司注册信息:

以及工商信息:

有正规的注册企业注册信息及工商信息,由此可以得出结论:小红家陈皮公司是一家正规的陈皮经营公司。下面我们再来看看,其所卖的陈皮是正宗新会陈皮还是作假陈皮。
小红家陈皮是作假新会陈皮吗?
虽然小红家是正规陈皮公司,一般不会卖假货,但本着严谨的态度,我们还是要做一下鉴别。
首先,通过查询了解到,小红本人就是新会人,并且有自己家的茶枝柑园。完全有能力自己种植制作新会陈皮,自家有柑园有陈皮的正宗原材料,没有必要冒险卖假陈皮,从这一点来说,小红家陈皮应该是正宗的新会陈皮。

最后,我们再来看看小红家陈皮的实物,从其实物自然可判断究竟是不是正宗新会陈皮。了解过新会陈皮的都知道,新会陈皮的基本特点:三瓣相连、有柑香味、年份越长颜色越重且有层次感、泡水颜色金黄色且随年份逐渐变深……
而小红家陈皮满足所有这些特点,因此可以确定,小红家陈皮是正宗的新会陈皮,而不是作假陈皮。
小红家陈皮价格贵不贵?
可能有人了解过小红家陈皮的价格,一部分人会觉得价格便宜,也会有一部分觉得小红家陈皮价格比较贵。
实际上,正宗新会陈皮的价格都不可能太便宜,因为茶枝柑种植面积有限,且本身价格就比较高,制作成陈皮后还需要进行多年的陈化,在这个过程中需要各种人工、管理、损耗等成本,因此新会陈皮价格通常不会太低,就算是当年的新皮,成本价都不会低于100元(茶枝柑价格通常在7~15元之间,20斤柑果才能晒出1斤新皮)
而小红家陈皮与大部分新会陈皮商价格相比,却又会便宜不少。其原因就是,小红家陈皮是自家柑园所产陈皮,没有中间商赚差价,所以价格便宜;而其他第三方陈皮商,有中间商赚差价,其进货价就高,卖价自然就更高了。
加微信 ket545 可免费领取陈皮体验装,共3袋大约30克(5年10年15年各一袋,市场价30元)

上一篇

